The aluminum briquetting machine can be used to process industrial wastes such as aluminum powder, aluminum ash, etc. produced during the course of aluminum metallurgy or aluminum products processing into briquettes which can be put into blast furnace for further metallurgy and used as chemical additives as well. Therefore, by using this aluminum briquette machine, you can take full advantages of these industrial wastes and their high additional value instead of abandoning them or processing slightly.


The briquette forming equipment comes with wide range of applications. It can not only put aluminum materials into full use, but also save great deal of resources consumption as well as economic cost for you. Thus, our aluminum briquetting machine is your best choice for processing aluminum wastes.
| Model | YKHD 530 | YKHD 650 | YKHD 750 | YKHD 850 |
| Diameter(mm) | 530 | 650 | 750 | 850 |
| Width(mm) | 196 | 196-250 | 196-250 | 196-250 |
| Max Lineal Pressure Ratio(t/cm) | 5 | 6 | 6 | 8 |
| Total Pressure(t) | 100 | 110 | 120 | 300 |
| Power(kw) | 45 | 55-75 | 75-90 | 75-90 |
| Precompressed Power(kw) | 11 | 15 | 18.5 | 18.5 |
| Power of the Oil Pump(kw) | 1.5 | 1.5 | 2.2 | 3 |
| Speed(r/min) | 9 | 9 | 9 | 9 |
| Capacity(t/h) | 2-4 | 5-8 | 8-12 | 9-15 |
| Size of the Ball(mm) | 38*25*13 (Defined by users) | |||
Note: Above technical parameters are for reference and can be separately designed according to customer's actual situation. In addition, above briquetting machines can be separately equipped with hydraulic system.
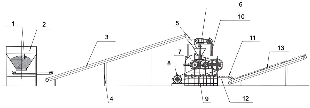
YUKE briquetting machine consists of three parts, namely feeding part, drive part and briquette molding part (main body).
The feeding part is mainly used to achieve ration feeding so as to ensure that the materials can be fed into the rollers uniformly. Specifically, the screw feeder, driven by electromagnetic speed-adjustable motor, presses materials into the main feeding port compulsively by means of the belt pulley and worm reducer. Owing to constant torque, the motor can keep constant feeding pressure, ensuring stable briquette quality.
The main drive system of the briquetting machine is composed of motor, triangle belt, reducer, exposed gear and rollers. The power generated by the electromagnetic speed-adjustable motor transmits to the driving shaft through belt pulley, reducer and coupler, and the driving shaft will turn synchronously with the driven shaft by the exposed gear.
The core of the briquette molding part is the rollers. Through rollers, the raw materials can be compressed into briquettes with various shapes. In addition, the rollers feature overload protection, hence keeping sound quality.
Looking for Briquetting Machines That Fit Your Requirements?
Whether it’s metal, sludge, biomass, or coal, we design the right briquetting solution for your needs.
YUKE specializes in providing high-efficiency and energy-saving briquetting machine and production line solutions. Our automated production lines are versatile and essential for material forming across various industries. We offer complete production line equipment, including vibrating screens, crushers, batching machines, dryers, mixers, briquetting machines, feeders, and conveyors, forming a comprehensive material processing system. Our core briquetting machines are designed to efficiently compress a wide range of powdered materials, such as iron powder, mineral powder, oxide scale, and refractory materials, catering to the metallurgical, chemical, and construction industries.